
MIL-DTL-81014B
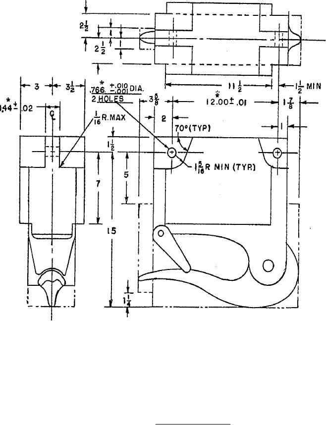
NOTES: 1. All dimensions marked with an asterisk (*) must be held.
2. All other dimensions define maximum envelope size except as noted.
3. All dimensions are in inches.
FIGURE 1. Envelope dimensions.
6
For Parts Inquires call Parts Hangar, Inc (727) 493-0744
© Copyright 2015 Integrated Publishing, Inc.
A Service Disabled Veteran Owned Small Business